高频缓解喷嘴gydF4y2Ba

自定义解决方案公告100gydF4y2Ba
应用# 081656gydF4y2Ba
工业:石化加工gydF4y2Ba
应用:减少泄漏事件中的HFgydF4y2Ba
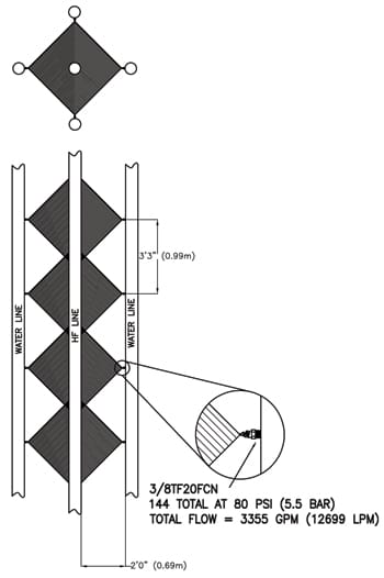
产品描述:gydF4y2Ba3/8 " TF20FCNgydF4y2Ba

情境:gydF4y2Ba

一个全球工程公司的BETE客户,有一个主要的炼油商客户。炼油厂希望安装氟化氢减缓系统,因为它是人类已知的最危险的化学物质之一。在精炼过程中经常使用HF来生产烷基化油,用于汽油调合过程(见流程图)。炼油厂有一个6英寸的垂直管道,他们想保护它从地面到120英尺(36.6米)高。客户决定,他们需要每分钟喷洒总计3200加仑(12100升/分钟),以有效减轻泄漏时的HF。炼油厂的可用水压为80psi (5.5 bar)。gydF4y2Ba

解决方案:gydF4y2Ba

的傻瓜gydF4y2Ba3/8 " TF20FCNgydF4y2Ba喷嘴是减少HF的首选喷嘴。这是工业合作氟化氢减缓评估项目与美国能源部的结论。下面下载了一篇技术论文,概述了这项工作。对于这一申请,它被确定总共是144个gydF4y2Ba3/8 " TF20FCNgydF4y2Ba喷嘴位于4个集水孔上,间距为3’3”(1米),距HF线24’,可以提供完整的覆盖范围和所需的流量,从而在发生泄漏时有效减轻HF。建议材料为316不锈钢。gydF4y2Ba

要讨论您的流体相关挑战,请联系BETE应用工程,电话413-772-0846或gydF4y2Baappeng@bete.comgydF4y2Ba.gydF4y2Ba