清洗注水喷嘴gydF4y2Ba

自定义解决方案公告101gydF4y2Ba
应用# 081018gydF4y2Ba
工业:石化加工gydF4y2Ba
用途:注洗水gydF4y2Ba
产品描述:gydF4y2BaTHgydF4y2Ba,gydF4y2BaWTZgydF4y2Ba,gydF4y2Ba披露信息gydF4y2Ba

情境:gydF4y2Ba

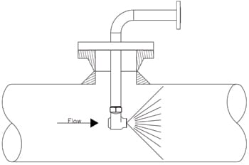
一位BETE的客户询问了几个洗水喷嘴。洗涤水注入点位于炼油过程的几个区域。向原油中注入洗井水可以洗净原油中的盐和其他固体颗粒,如果不清除这些颗粒,这些固体颗粒将会对系统造成进一步的腐蚀和磨损。原油作为炼油过程的第一步被洗涤,通常就在蒸馏塔之前。此外,在该过程中还可能有其他洗涤水注入点,用于洗涤蒸汽和气体流中的任何残余固体颗粒。喷嘴插入垂直于水流的水流中,然后与水流方向共喷。由于空间是一个大问题,紧凑的直角喷嘴设计的要求。喷嘴的结构也应采用耐腐蚀和耐磨材料。gydF4y2Ba

解决方案:gydF4y2Ba

betgydF4y2BaTHgydF4y2Ba,gydF4y2BaWTZgydF4y2Ba,gydF4y2Ba直角WL (RAWL)喷嘴gydF4y2Ba与安装在90°弯头上的标准喷嘴相比,提供更小的间隙直径。喷嘴采用镍合金材料,具有优异的耐腐蚀和耐磨性。BETE还将生产全套喷枪总成,为客户提供一站式采购。gydF4y2Ba

要讨论您的流体相关挑战,请联系BETE应用工程,电话:413-772-0846或gydF4y2Baappeng@bete.comgydF4y2Ba.gydF4y2Ba